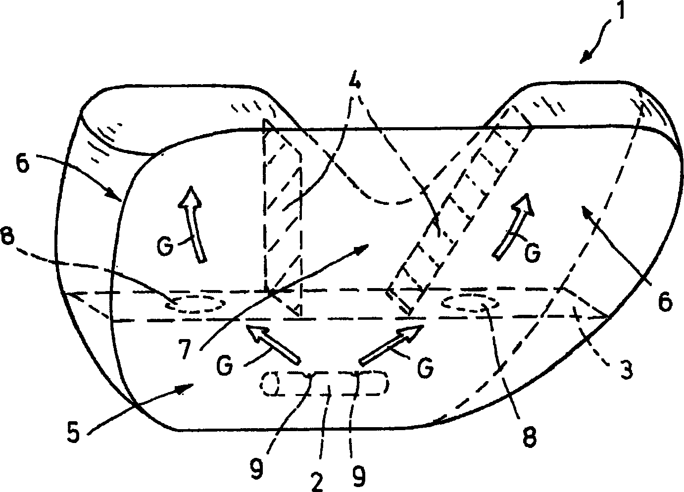
盖世汽车讯 据外媒报道,福特汽车公司(Ford Motor)已向美国专利商标局(USPTO)为其向下充气式安全气囊申请专利,该专利可能用于未来的福特汽车。该专利于2024年7月2日提交,于2025年10月7日发布,分配序列号为12434658。

图片来源于网络,如有侵权,请联系删除

图片来源于网络,如有侵权,请联系删除
图片来源: USPTO
盖世汽车讯 据外媒报道,福特汽车公司(Ford Motor)已向美国专利商标局(USPTO)为其向下充气式安全气囊申请专利,该专利可能用于未来的福特汽车。该专利于2024年7月2日提交,于2025年10月7日发布,分配序列号为12434658。

图片来源于网络,如有侵权,请联系删除

图片来源于网络,如有侵权,请联系删除
图片来源: USPTO